1983-01-12
ГОСТ 14916-82
ДРОБИЛКИ. Термины и определения
Crushers. Terms and definitions
Взамен ГОСТ 18600-73, ГОСТ 14916-69
Постановлением Государственного комитета СССР по стандартам от 16 ноября 1982 г. № 4305 срок введения установлен
с 01.01.1984 г.
Настоящий стандарт устанавливает применяемые в науке, технике и производстве термины и определения понятий в области видов и основных исполнений дробилок.
Термины, установленные настоящим стандартом, обязательны для применения в документации всех видов, научно-технической, учебной и справочной литературе.
Для каждого понятия установлен один стандартизованный термин. Применение терминов-синонимов стандартизованного термина запрещается. Недопустимые к применению термины-синонимы приведены в качестве справочных и обозначены "Ндп".
Для отдельных стандартизованных терминов в стандарте приведены в качестве справочных их краткие формы, которые разрешается применять, когда исключена возможность их различного толкования. Установленные определения можно, при необходимости, изменять по форме изложения, не допуская нарушения границ понятий.
Когда необходимые и достаточные признаки понятия содержатся в буквальном значении термина, определение не приведено, и, соответственно, в графе "Определение" поставлен прочерк.
В стандарте в качестве справочных приведены иностранные эквиваленты ряда стандартизованных терминов на немецком (D), английском (Е) и французском (F) языках. В стандарте приведены алфавитные указатели содержащихся в нем терминов на русском языке и их иностранных эквивалентов.
В стандарте имеется справочное приложение, в котором приведена классификация дробилок. Стандартизованные термины набраны полужирным шрифтом, их краткая форма - светлым, а недопустимые синонимы - курсивом.
| No. п.п. | Термин | Определение | Схема |
|---|---|---|---|
| ОСНОВНЫЕ ПОНЯТИЯ | |||
| 1. | Дробление D. Zerkleinerung Е. Crushing F. Concassage | Разрушение твердого кускового материала на мелкие куски | --- |
| 2. | Дробилка D. Brecher Е. Crusher F. Concasseur | Машина для дробления | --- |
| ВИДЫ ДРОБИЛОК | |||
| 3. | Щековая дробилка D. Backenbrecher Е. Jaw crusher F. Concasseur a machoires | Дробилка, дробление в которой осуществляется сжатием материала между щеками | ![]() |
| 4. | Конусная дробилка D. Kegelbrecher Е. Gyratory crusher F. Concasseur a cone | Дробилка, дробление в которой осуществляется сжатием материала между конусами, расположенными один внутри другого | ![]() |
| 5. | Валковая дробилка D. Walzenbrecher Е. Roll crusher F. Concasseur a cylindres | Дробилка, дробление в которой осуществляется сжатием материала между вращающимися валками или валком и неподвижной плитой. Примечание: В соответствии с числом валков дробилке присваивают наименования: "Одновалковая", "Двухвалковая", "Трехвалковая" и т. д. | ![]() |
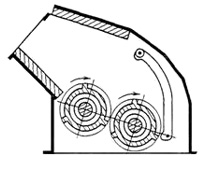
| 6. | Роторная дробилка D. Prallbrecher Е. Impactor F. Concasseur a percussion | Дробилка, дробление в которой осуществляется ударами бил, жестко закрепленных на вращающемся вокруг горизонтальной оси роторе. Примечание: В соответствии с числом роторов дробилке присваивают наименования: "Однороторная", "Двухроторная", "Трехроторная" и т. д. | ![]() |
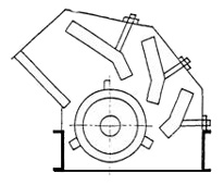
| 7. | Молотковая дробилка D. Haminerbrecher Е. Hammermill F. Concasseur a marteaux articules | Дробилка, дробление в которой осуществляется ударами молотков, шарнирно закрепленных на вращающемся роторе. Примечание: В соответствии с числом роторов дробилке присваивают наименования: "Однороторная молотковая дробилка", "Двухроторная молотковая дробилка", "Трехроторная молотковая дробилка" и т. д. | ![]() |
| ОСНОВНЫЕ ИСПОЛНЕНИЯ ДРОБИЛОК | |||
| 8. | Одноступенчатая дробилка D. Einstufenbrecher Е. Single-stage crusher F. Concasseur a stade unique | Дробилка, в которой загружаемый материал поступает одновременно на все основные рабочие органы. Примечание: Основным рабочим органом дробилки является сборочная единица или среда, передающая энергию кускам дробимого материала при непосредственном с ним контакте. | ![]() |
| 9. | Многоступенчатая дробилка | Дробилка, в которой загружаемый материал последовательно поступает от одного основного рабочего органа или группы рабочих органов к другому основному рабочему органу или группе основных рабочих органов. В соответствии с числом ступеней дробления дробилке присваивают наименования: "Двухступенчатая", "Трехступенчатая" и т. д. | ![]() |
| 10. | Комбинированная дробилка | Многоступенчатая дробилка с основными рабочими органами, характерными для дробилок разных видов. | ![]() |
| 11. | Щековая дробилка с простым движением щеки | Щековая дробилка, точки подвижной щеки которой движутся по прямым или дугам окружности, близким к прямым. | ![]() |
| 12. | Щековая дробилка со сложным движением щеки | Щековая дробилка, точки подвижной щеки которой движутся по замкнутым кривым. | ![]() |
| 13. | Реверсивная роторная дробилка D. Reversieverprallbrecher Е. Reversible impactor F. Concasseur a percussion a fonctionnement reversible | Роторная дробилка с реверсивным вращением ротора (ов). | ![]() |
| 14. | Реверсивная молотковая дробилка D. Reversieverhammerbrecher Е. Reversible hammermill F. Concasseur a marteaux articules a fonctionnement reversible | Молотковая дробилка с реверсивным вращением ротора (ов). | ![]() |
| 15. | Вертикальная молотковая дробилка D. Vertikalhammerbrecher Е. Vertical hammermill F. Concasseur a marteaux articules au rotor verticale | Молотковая дробилка с вертикальной осью вращения ротора. | ![]() |
| ОБЩИЕ КОНСТРУКТИВНЫЕ ЭЛЕМЕНТЫ ДРОБИЛОК | |||
| 16. | Корпус дробилки Корпус Ндп. Рама D. Brechergehuse Е. Crusher housing F. Corps de concasseur | Опорная конструкция для крепления элементов дробилки. | ![]() |
| 17. | Станина дробилки Станина D. Brecherbett Е. Crusher frame F. Bati de concasseur | Часть корпуса дробилки, устанавливаемая на фундамент. | ![]() |
| 18. | Камера дробления D. Brechraum Е. Crushing chamber F. Chambre de concassage | Пространство между рабочими органами дробилки, в котором происходит дробление и перемещение материала. | --- |
| 19. | Предохранительное устройство дробилки Предохранительное устройство D. Brechschutzvorrichtung Е. Crusher safety release F. Dispositif de securite de concasseur | Устройство для предохранения элементов дробилки от поломок при перегрузках. | --- |
| АЛФАВИТНЫЙ УКАЗАТЕЛЬ ТЕРМИНОВ НА РУССКОМ ЯЗЫКЕ | |
| Дробилка | 2 |
| Дробилка валковая | 5 |
| Дробилка комбинированная | 10 |
| Дробилка конусная | 4 |
| Дробилка многоступенчатая | 9 |
| Дробилка молотковая | 7 |
| Дробилка молотковая вертикальная | 15 |
| Дробилка молотковая реверсивная | 14 |
| Дробилка одноступенчатая | 8 |
| Дробилка роторная | 6 |
| Дробилка роторная реверсивная | 13 |
| Дробилка щековая | 3 |
| Дробилка щековая со сложным движением щеки | 12 |
| Дробилка щековая с простым движением щеки | 11 |
| Дробление | 1 |
| Камера дробления | 18 |
| Корпус | 16 |
| Корпус дробилки | 16 |
| Рама | 16 |
| Станина | 17 |
| Станина дробилки | 17 |
| Устройство дробилки предохранительное | 19 |
| Устройство предохранительное | 19 |
| АЛФАВИТНЫЙ УКАЗАТЕЛЬ ТЕРМИНОВ НА НЕМЕЦКОМ ЯЗЫКЕ | |
| Backenbrecher | 3 |
| Brecher | 2 |
| Brecherbett | 17 |
| Brechergehuse | 16 |
| Brechraum | 18 |
| Brechschutzvorrichtung | 19 |
| Einstufenbrecher | 8 |
| Hammerbrecher | 7 |
| Kegelbrecher | 4 |
| Prallbrecher | 6 |
| Reversieverhammerbrecher | 14 |
| Reversieverprallbrecher | 13 |
| Vertikalhammerbrecher | 15 |
| Walzenbrecher | 5 |
| Zerkleinerung | 1 |
| АЛФАВИТНЫЙ УКАЗАТЕЛЬ ТЕРМИНОВ НА АНГЛИЙСКОМ ЯЗЫКЕ | |
| Crusher | 2 |
| Crusher frame | 17 |
| Crusher housing | 16 |
| Crusher safety release | 19 |
| Crushing | 1 |
| Crushing chamber | 18 |
| Gyratory crusher | 4 |
| Hammermill | 7 |
| Impactor | 6 |
| Jaw crusher | 3 |
| Reversible impactor | 13 |
| Reversible hammermill | 14 |
| Roll crusher | 5 |
| Single-slage crusher | 8 |
| Vertical hammermill | 15 |
| АЛФАВИТНЫЙ УКАЗАТЕЛЬ ТЕРМИНОВ НА ФРАНЦУЗСКОМ ЯЗЫКЕ | |
| Bati de concasseur | 17 |
| Chambre de concassage | 18 |
| Concassage | 1 |
| Concasseur | 2 |
| Concasseur a cone | 4 |
| Concasseur a cylindres | 5 |
| Concasseur a machoires | 3 |
| Concasseur a niarteaux articules | 7 |
| Concasseur a marteaux articules a fonctionnement reversible | 14 |
| Concasseur a marteaux articules au rotor verticale | 15 |
| Concasseur a percussion | 6 |
| Concasseur a percussion a fonctionnement reversible | 13 |
| Concasseur a stade unique | 8 |
| Corps de concasseur | 16 |
| Dispositif de securite de concasseur | 19 |
ПРИЛОЖЕНИЕ
Справочное
КЛАССИФИКАЦИЯ ДРОБИЛОК















